当前位置:主页 > TAG标签 > 燃料电池
  • 华中科技大学:研制出固体氧化物燃料电池独立发电系统 日期:2015-03-18 16:03:44 点击:223 好评:0

    华中科技大学研制的5千瓦级SOFC独立发电系统,采用双电堆模块和热—电协同管控技术,发电效率达到46.5%,热电联供能量利用率可达79.7%。...

  • 大连化物所合作在固体氧化物燃料电池研究中取得进展 日期:2015-03-18 15:55:36 点击:167 好评:0

    固体氧化物燃料电池是一种高效清洁的能源转换技术,可以利用天然气、煤的气化净化气和生物质气等燃料发电,发电效率可达到60%以上,并可减少二氧化碳排放。...

  • 华中科大:研制出固体氧化物燃料电池独立发电系统 日期:2015-03-18 14:19:44 点击:137 好评:0

    华中科技大学研制的5千瓦级SOFC独立发电系统,采用双电堆模块和热—电协同管控技术,发电效率达到46.5%,热电联供能量利用率可达79.7%。其中,采用的大面积单电池功率密度高达1.2瓦/平方厘米,衰减速率仅为每千小时0.41%,达到国际先进水平。 ...

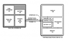
  • 苹果燃料电池专利获批 解决iOS续航时间不足问题 日期:2015-03-18 10:20:25 点击:151 好评:0

    苹果与广大消费电子品生产商一样,在设备电池续航问题上一直面临着巨大挑战。而燃料电池技术目前被认为是最有可能取代传统锂电池,成为驱动电子设备的新能源技术。 ...

  • 苹果新专利:燃料电池驱动iOS设备 解决续航问题 日期:2015-03-18 07:04:40 点击:239 好评:0

    燃料电池技术目前被认为是最有可能取代传统锂电池,成为驱动电子设备的新能源技术。...

  • 政府出资发展环保科技 韩国力推燃料电池车 日期:2015-03-16 22:49:43 点击:571 好评:0

    燃料电池车获得日韩两国背书相挺!不只日本当局将砸钱补助燃料电池车,韩国政府也将推广此种环保车辆,预计7月发布长期发展计划。...

  • 大众:开始涉足研发燃料电池车 但无量产计划 日期:2015-03-16 07:43:36 点击:117 好评:0

    据大众研发部门主管乌尔里希•哈肯贝格(Ulrich Hackenberg)称,公司正致力于研发燃料电池车,但不会走丰田和本田的路线,不会为促进燃料电池车的使用,而对氢燃料补给基础设施提供补贴。...

  • 为什么红不过特斯拉?燃料电池无法拿出漂亮的技术参数 日期:2015-03-15 22:18:06 点击:1798 好评:0

    就像电动车需要充电,让燃料电池工作也需要充氢。和纯电动汽车一样,它在行驶时不排放尾气,所以也称得上是环保车。...

  • 康奈尔大学研究人员发现燃料电池新型薄膜材料 日期:2015-03-14 11:47:50 点击:196 好评:0

    研究人员合成了一种用于燃料电池的新型薄膜催化剂。他们首次报道了外延生长Bi2Pt2O7焦绿石薄膜,这种薄膜可作为更有效的阴极——燃料电池中的基本电极部分,正电荷从该部分流向外电路,传递电能。...

  • 保时捷:将推纯电动、燃料电池车型 日期:2015-03-14 11:42:28 点击:194 好评:0

    日前,海外媒体曝光了一张由大众集团首席工程师乌尔里希•哈肯伯格(Ulrich Hackenberg)在大众集团年度会议演示的PPT,图中显示大众旗下保时捷未来将推出一款纯电动紧凑型车和一款燃料电池车型。...