
企查查显示,哪吒汽车关联公司合众新能源汽车股份有限公司(简称:合众新能源)被申请破产一案更新,6月19日新增破产案件,管理人机构为浙江子城律师事务所,经办法院为浙江省嘉兴市中级人民法院。此前,申请人上海禹形广告有限公司已对该公司提出过破产审查。

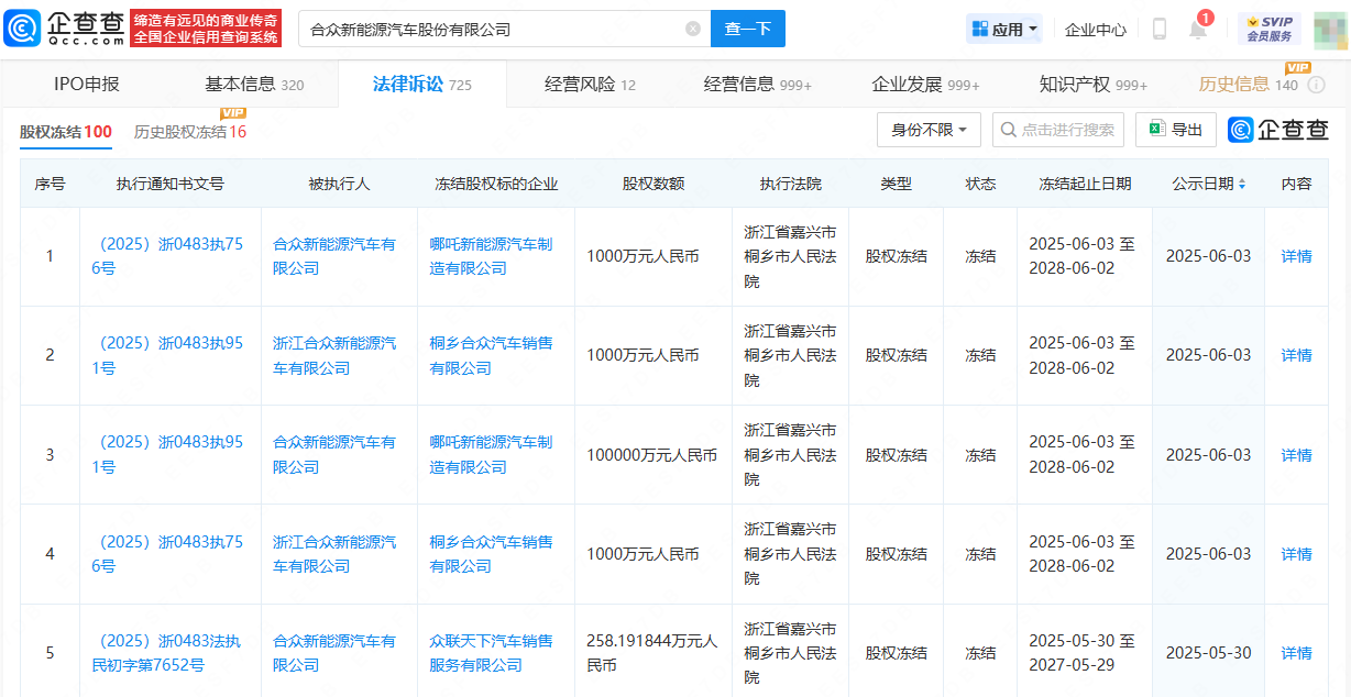
此外,合众新能源本月以来新增4条股权冻结信息,其所持哪吒新能源汽车制造有限公司10亿股权、桐乡合众汽车销售有限公司1000万股权等被冻结。

此前,有哪吒汽车员工称收到居家办公通知,哪吒员工表示,因为薪酬问题,已经两个月没去公司上班了。
企查查还显示,哪吒汽车当前被执行金额超1.58亿元,名下涉及30余条限制高消费信息,今年5月因实施了经责令改正拒不改正的行为,违反了《劳动保障监察条例》第六条规定累计被罚3.30万元。
值得一提的是,近日,一份《哪吒汽车重整声明》流出,声明显示,哪吒汽车母公司合众新能源正式进入重整程序,本次重整由专业机构主导推进,依法保障债权人、员工及车主权益,优先解决供应链欠款与车主服务问题,最大程度减少社会资源损耗。
合众新能源将跟管理人一起,联合国内外头部产业资本,共同投资哪吒汽车,资金将专项用于恢复生产、技术研发及海外市场拓展。同时,原管理团队将优化重组,新任CEO由具备跨国车企管理经验的资深人士担任,推动治理结构专业化。
同时,国内市场桐乡等生产基地将在数月内逐步复工,优先保障现有订单交付,通过金融支持实现经销商体系的稳定过渡;海外业务不受影响,将会持续正常运营,包括泰国、印尼、巴西等地将作为发展重点。
值得一提的是,声明还提到,哪吒汽车将重启浩智技术平台研发,重点推进滑板底盘与智能驾驶技术,2027年前推出3款全球化车型,主攻10-20万元大众市场,兼顾高端差异化需求。

电池网微信












