
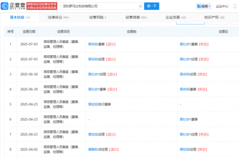
企查查显示,7月3日,深圳罗马仕科技有限公司(简称“罗马仕”)发生工商变更,雷杏容卸任法定代表人、董事、经理,由雷社杏接任。值得注意的是,6月30日,该公司将法定代表人、董事、经理由雷社杏变更为雷杏容,4月23日,公司法定代表人、经理等高管由雷桂斌变更为雷社杏。
对于因充电宝召回风波站上风口浪尖的罗马仕,高管在一个月内三次变更的频繁动作,难免引发外界对其经营稳定性的猜测。从雷桂斌到雷社杏,再到雷杏容与雷社杏的快速交替,这种密集的人事调整,叠加此前的安全风波与产品召回,让市场对品牌现状的关注度持续升温,甚至出现“经营承压”“濒临倒闭”的传言。就在各方猜测发酵之际,7月3日深夜,罗马仕称:“没有倒闭,感谢关心。定将努力解决所有朋友、用户及合作伙伴的一切问题。”
值得一提的是,当前搜索多个购物平台罗马仕官方店发现,店内已搜不到充电宝等商品,仅剩充电头、数据线。
此前罗马仕方也回应称,目前公司正在安排整改,先梳理内部,公司全部精力都聚焦产业链自检,为新品做准备。
7月4日最新消息显示,罗马仕申请的“充电器”外观专利获授权。据悉,本产品主要用于给电子设备充电,设计要点在于形状。
资料显示,罗马仕创立于2012年,是广东深圳的一家国家高新技术企业。罗马仕专注于充电领域,成功布局了移动电源、户外电源、数据充电线、电源适配器等9大产品线,品牌产品年出货量达到5000万件以上,是全球热销的移动电源品牌之一,并在东亚、东南亚、南非等地区销量领先同类品牌,每天为数亿智能移动终端提供电量续航服务。



电池网微信












