中国电池网-中国电池杂志4月8日讯 由辽阳灿景锂电研究所研究近日发明的“换液锂电池”,破解了当下电动汽车充电慢的难题。
目前发展新能源电动汽车产业已成为各国发展的重点之一,但充电速度慢和安全性及高成本问题一直制约着电动汽车的快速发展。据了解,这种可换液锂电池的发明将破解这一技术难题:它通过更换电池芯的方法可以在几分钟内完成充电,与加油车相媲美,彻底的解决了电动汽车充电速度慢的技术瓶颈!该电池的电芯为浆液状可循环使用 ,既环保又大大的降低了成本!这种电池除了“换液充电”外还可以像现有锂电池一样进行常规充电,与现有的充电设施相结合,适应多种充电模式!
由于充电慢等原因,导致了电动汽车产业几年来迟迟得不到长足的发展,进而影响了动力电池企业的成长及上下游产业的发展,该换液电池的出现实现了和加油车一样方便的加能!因此将来发展这种“快充电池”更具应用性,它可以大量源源不断的造“石油”并将其存储在容器中,为随时来加注的电动汽车服务,甚至还可以用专用罐车为抛锚的电动汽车送“油”!由于该电池具有快速充电的特点,将来只需要建少量的充电站即可,不需要建很多的充电桩,这将大大的减少电动汽车企业后期配套设施的投入!由于这种电池具有反复可修复的长寿命性,减少了对环境的污染,同时降低了电动汽车的成本!
蓄电池是整个电动汽车产业的源头,是电动汽车的心脏,只有解决了快速充电、长寿命、无污染、低成本和安全性的问题,才能促使电动汽车产业的快速发展!进而带动大量的电能加注站建设及后期服务,从而带来数千亿元的经济效益和巨大的社会效益,该电池的问世对电动汽车产业具有里程碑上的意义,解决了电动汽车产业发展的一系列技术瓶颈(如续航,只需要在车体上加装一些储液罐就可使行车里程加倍),开启了“电油”时代!
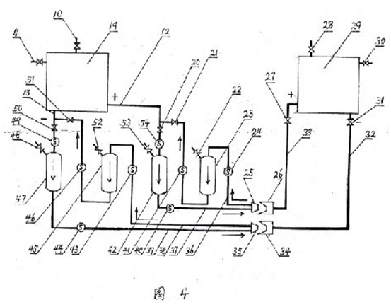
上述连接系统通过微电脑的程序化控制,可先将被换液电池体(29)里放电后的正、负无电电液通过b泵体(24)和f泵体(43)抽出暂存在a储液罐(23)和c储液罐(45)中,此时在被换液电池体正极电液管(33)上的电池阀(27)和负极电液管(32)上的电池阀(31)是打开的,还有电池体上的出气阀(28)和(30)也是打开的;然后再将b储液罐(42)和d储液罐(47)中充好电的有电电液通过d泵体(40)h和泵体(44)加注到被换液电池体中,最后再将暂存在a储液罐(23)和c储液罐(45)中的正、负无电电液通过a泵体(21)和e泵体(51)分别回送到充电电池体(19)中进行再一次的充电过程(该装置让充电的时间得到重新分配,使客户的长时充电时间转移给了专业的充电站完成,从而解决了电动汽车充电速度慢的技术瓶颈)。该电池浆液可循环使用,节约资源,绿色环保,如同加油,方便快捷,开启了汽车的“电油”时代!
(发明人:马福 马春 电话:13624970865 0419-7479043 邮箱:cana120@163.com)

电池网微信












