今年8月底,美国一家名为Zee.Aero的公司申请的一项关于个人飞机的专利获批了,本来那项专利并不引人注目,但是专利文件中的一张附图显示专利涉及到的个人飞机竟然可以象一辆汽车一样停放在杂货店停车场中,而且占地面积也跟一辆普通的汽车相仿。
Zee.Aero是美国山景市的一家名不见经传的隐形公司,从专利文件中的附图来看,那并不是一架普通的飞机,而是一辆飞车!
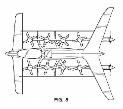
以前,人们一直认为影片《飞出个未来》中的主人公乔治杰特森(George Jetson)驾驶的飞行车是不现实的,但是Zee.Aero的专利中提到的两款设计却让飞车的概念更加接近现实了。这种飞车可以用电池来提供动力,而且可以象直升飞机一样垂直升降,因此它就不需要跑道了。
专利文件还指出,车顶部的水平旋翼模组可以两个向后的旋翼配合,从而让飞车能够做出盘旋的动作。
据知情人士透露,谷歌(微博)也参与了这种飞车的研制计划,但是现在还不清楚它的介入程度有多深。
Zee.Aero的办公大楼位于山景市海滨湖附近,它经营着一个简易的网站,网站上总共只有3个网页,而且没有公开公司的地址、联系电话、电子邮件或其他联系方式。
实际上,谷歌无人车项目Google X的秘密研究基地Googleplex也在海滨湖附近。Google X项目的负责人塞巴斯蒂安特龙(Sebastian Thrun)曾说过,他预计到2040年时绝大多数人都会用上飞车。当然,象那样天马行空的预测其实多得很。
Zee.Aero发布的招聘启事列出了11个岗位,待遇相当优厚,那些岗位都与机械和航空工程有关。通过在求职社交网站LinkedIn上搜索,可以发现一共有52个人有兴趣到Zee.Aero工作,其中只有3人期望的岗位与技术无关。
Zee.Aero创立于2010年,斯坦福大学著名的航空学教授伊南克罗(Ilan Kroo)自2011年起转为兼职教授,开始经营Zee.Aero公司。他与其他人共同拥有上述专利,他之前曾在美国航空航天局(NASA)工作过。
记者周二通过LinkedIn向谷歌和Zee.Aero的人力资源主管发了一封咨询电邮,结果只接到克罗教授的回复。他是这样说的:“感谢你对我们公司感兴趣并发来邮件。正如你所知,我正在山景市的一家早期阶段的初创公司研究一些有趣的交通概念。我们距离谷歌和其他一些技术公司很近,但是与它们并没有附属关系。公司正处于早期阶段,而且是隐形阶段,我们从未跟其他人谈过我们的计划。我期待着在研发取得更大进展时与你进行探讨。”
需要说明的是,专利文件中的图纸所绘的产品很少与最终的产品是一致的。在过去的两年里,Zee.Aero已经提交了数项专利申请。如果想对该公司的产品有一个感性的认识,我们或许应该将所有的图纸放在一起综合参考,然后利用一点想象力将它们结合在一起。
另一个问题是,Zee.Aero从哪去弄为飞车供电的那种电池呢?电力汽车厂商特斯拉最近已经表示它愿意对外授权其技术。

电池网微信












