
苹果公司的柔性iPhone概念图
在研发保密方面,美国专利局算得上是科技企业的头号敌人,如今它再次走漏了风声:苹果公司为柔性甚至可折叠iPhone申请了专利。
眼尖的AppleInsider网站用户发现,本周美国专利商标局(USPTO)授予了苹果公司一项“柔性电子设备”专利,该专利包罗广泛,“可能涵盖柔性显示屏、柔性外壳,以及一个或多个能让柔性电子设备变形的内部柔性组件。”
苹果公司在申请文件中提供了大量概念图,使我们深信不疑:苹果正考虑将该技术用于iPhone……
从里到外的柔性组件
也许这项专利最让人感兴趣的是苹果在可折叠设备领域的研究深度。苹果不仅详细说明了柔性玻璃和柔性底盘构造,还有包括可弯曲的电路板甚至电池在内的全部柔性内部构件。
相比之下,LG G Flex、G Flex 2和三星Galaxy Round等现有的柔性设备虽具有柔性屏幕和柔性底盘,但内部组件却不能弯折。因此,Galaxy Round手机不得不配上一块比Galaxy Note 3更小的电池——Galaxy Note 3是Galaxy Round的设计基础。
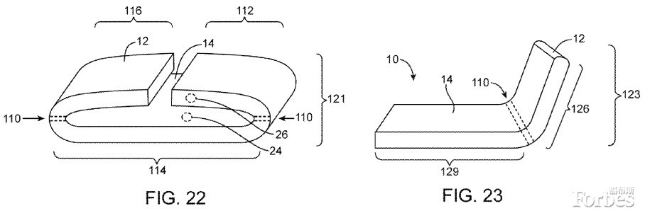
可折叠设计以及压力控制
进一步深挖该专利,苹果公司还图解了拍拍手环(slap bracelet)式的一些设计以及基于压力的控制,向未来进行更多探索。其中拍拍手环式设计可能会成为iPhone及可穿戴产品的最终发展形式。

苹果拍拍手环式的设计概念
当然,苹果在实现这些设计方面进展到何程度,这点只能全凭猜测。这项专利申请是在2011年9月最初提交的,如此看来苹果这方面的工作已经开展了一段时间,但该公司刚对iPhone手机做了迄今为止最大改动,据苹果推出柔性产品似乎至少还要再等上几年。不管怎样,这显示出面对竞争对手所体现的柔性手机壮大趋势,苹果公司不会无动于衷。
所有这一切令我们想到了“弯曲门”的玩笑:一些人认为苹果的首款柔性iPhone手机已经发布了。

电池网微信












